1.关于静摩擦力,下列说法正确的是( )
A.受到静摩擦力的物体一定是静止的
B.两个接触的相对静止的物体间一定有静摩擦力
C.静摩擦力的方向可能与物体相对运动趋势的方向相同
D.静摩擦力的方向可能与运动方向相同
静摩擦力产生于两个相对静止的物体之间,但两个物体并不一定对地静止,例如物块随倾斜的传送带向上匀速运动,物块受到沿传送带向上的静摩擦力,物块对地是运动的,故 $ \mathrm{A} $ 错误.产生静摩擦力需满足两个物体相互接触并且有正压力、有相对运动的趋势,若两物体相对静止,但没有相对运动的趋势,就没有静摩擦力,故 $ \mathrm{B} $ 错误.静摩擦力的方向一定与物体相对运动趋势的方向相反,可能与运动方向相同,也可能与运动方向相反,还可能与物体的运动方向成任意角度,故 $ \mathrm{C} $ 错误, $ \mathrm{D} $ 正确.
2.如图,人用平行于水平地面的力推沙发,沙发有相对地面运动的趋势,但它没有被推动,沙发与地面仍然保持相对静止.这时( )

A.沙发共受两个力作用
B.沙发受到的静摩擦力与推力平衡
C.沙发受到的静摩擦力方向与推力方向相同
D.如果减小推力,沙发受到的静摩擦力增大
沙发共受四个力作用,分别是重力、支持力、推力和摩擦力,故 $ \mathrm{A} $ 错误;沙发在水平方向受到推力和静摩擦力平衡,所以静摩擦力与推力平衡,故 $ \mathrm{B} $ 正确;沙发受到的静摩擦力方向与推力方向相反,故 $ \mathrm{C} $ 错误;如果减小推力,沙发受到的静摩擦力减小,故 $ \mathrm{D} $ 错误.
3.如图为皮带传动装置,当机器正常运转时,主动轮上 $ A $ 点、与主动轮接触的皮带上的 $ B $ 点、与从动轮接触的皮带上的 $ C $ 点及从动轮上的 $ D $ 点,关于此时这四点的摩擦力的方向的描述,正确的是( )
(多选)
A. $ A $ 点受到的摩擦力沿逆时针方向
B. $ B $ 点受到的摩擦力沿逆时针方向
C. $ C $ 点受到的摩擦力沿顺时针方向
D. $ D $ 点受到的摩擦力沿顺时针方向
当主动轮逆时针运转时,皮带上 $ B $ 点阻碍 $ A $ 点的滑动,则 $ B $ 点受到的摩擦力方向为逆时针,而 $ A $ 点受到的摩擦力与 $ B $ 点受到的摩擦力是作用力与反作用力关系,所以 $ A $ 点受到的摩擦力方向为顺时针,故 $ \mathrm{A} $ 错误, $ \mathrm{B} $ 正确;同理,由于从动轮由皮带带动, $ D $ 点在 $ C $ 的带动下运动,因 $ C $ 点沿逆时针转动,所以 $ D $ 点受到的摩擦力方向为逆时针,而 $ C $ 点受到的摩擦力方向为顺时针,故 $ \mathrm{C} $ 正确, $ \mathrm{D} $ 错误.
4.如图所示,质量均为 $ m $ 的甲、乙两只猴子分别沿着竖直固定的相同硬直杆匀速上爬和匀速下滑,重力加速度为 $ g $ ,猴子与杆之间的动摩擦因数均为 $ \mu $ .下列说法正确的是( )

A.杆对甲、乙的摩擦力均是滑动摩擦力
B.杆对甲的摩擦力方向向下
C.乙与杆之间的弹力为 $ \dfrac{mg}{\mu } $
D.甲上爬时抓得越紧,所受摩擦力越大
杆对甲的摩擦力是静摩擦力,杆对乙的摩擦力是滑动摩擦力,故 $ \mathrm{A} $ 错误;甲匀速上爬,竖直方向受到重力和杆对它的摩擦力作用,二力平衡,则杆对甲的摩擦力方向向上,故 $ \mathrm{B} $ 错误;根据二力平衡可知 $ {f}_{滑}=\mu {F}_{\mathrm{N}}=mg $ ,可得 $ {F}_{\mathrm{N}}=\dfrac{mg}{\mu } $ ,故 $ \mathrm{C} $ 正确;甲所受的摩擦力是静摩擦力,始终等于甲的重力,故 $ \mathrm{D} $ 错误.
5.如图甲所示,订书机是一种常见的文具,其底座前端有弧形凹槽.压下订书钉使其穿过纸张后进入弧形凹槽,订书钉在凹槽的作用下向内弯曲后,即可完成装订.如图乙所示,当订书钉末端被压到弧形凹槽上的 $ A $ 点时,下列有关凹槽的 $ A $ 点对订书钉末端的力的说法正确的是( )

A.弹力方向竖直向上
B.弹力方向水平向右
C.摩擦力方向沿凹槽 $ A $ 点的切线向上
D.摩擦力方向沿凹槽 $ A $ 点的切线向下
接触面的弹力方向垂直于接触面指向受力物体,故 $ A $ 点对订书钉末端的弹力方向垂直于过 $ A $ 点的切线指向订书钉,故 $ \mathrm{A} $ 、 $ \mathrm{B} $ 错误;摩擦力的方向与相对运动方向相反,订书钉末端相对凹槽 $ A $ 点的运动方向沿 $ A $ 点切线向下,故 $ A $ 点对订书钉的摩擦力方向沿凹槽 $ A $ 点的切线向上,故 $ \mathrm{C} $ 正确, $ \mathrm{D} $ 错误.
6.如图所示,水平地面上有质量为 $ 2\mathrm{k}\mathrm{g} $ 的 $ A $ 、 $ B $ 两木块,它们之间夹有被压缩了 $ 2.0\mathrm{c}\mathrm{m} $ 的轻质弹簧,已知弹簧的劲度系数 $ k=200\mathrm{N}/\mathrm{m} $ ,两木块与水平地面间的动摩擦因数均为 $ 0.25 $ ,系统处于静止状态.假设最大静摩擦力等于滑动摩擦力, $ g=10\mathrm{m}/{\mathrm{s}}^{2} $ .现用 $ F=9\mathrm{N} $ 的水平力推木块 $ B $ ,稳定后( )
(多选)
A.弹簧的压缩量变为 $ 2.5\mathrm{c}\mathrm{m} $
B.木块 $ B $ 所受静摩擦力为0
C.木块 $ A $ 所受静摩擦力大小为 $ 4\mathrm{N} $
D.木块 $ B $ 所受静摩擦力大小为 $ 5\mathrm{N} $
初始状态弹簧的弹力大小为 $ {F}_{1}=kx=200×0.02\mathrm{N}=4\mathrm{N} $ ,木块 $ B $ 与地面之间的最大静摩擦力大小为 $ {f}_{ \max }=\mu mg=0.25×2×10\mathrm{N}=5\mathrm{N} $ ,用 $ F=9\mathrm{N} $ 的水平力推木块 $ B $ 时,推力与弹簧弹力的合力方向水平向左,其大小为 $ {F}_{合}=F-{F}_{1}=(9-4)\mathrm{N}=5\mathrm{N} $ , $ {F}_{合} $ 等于最大静摩擦力,所以木块 $ B $ 和木块 $ A $ 都将保持静止不动,且木块 $ B $ 所受静摩擦力大小为 $ 5\mathrm{N} $ ,弹簧的压缩量仍为 $ 2.0\mathrm{c}\mathrm{m} $ ,木块 $ A $ 所受静摩擦力大小仍为 $ 4\mathrm{N} $ .故选 $ \mathrm{C} $ 、 $ \mathrm{D} $ .
7.如图所示, $ P $ 、 $ Q $ 两物体均重 $ 10\mathrm{N} $ ,各接触面间的动摩擦因数均为 $ \mu =0.3 $ ,现在对物体 $ Q $ 施加一水平向右、大小为 $ 4\mathrm{N} $ 的拉力 $ F $ ,最大静摩擦力等于滑动摩擦力,则下列说法正确的是( )
(多选)
A.物体 $ P $ 与物体 $ Q $ 一起向右运动
B.物体 $ P $ 静止不动,物体 $ Q $ 向右运动
C.地面对物体 $ P $ 施加水平向左、大小为 $ 4\mathrm{N} $ 的静摩擦力
D.无论如何增大对物体 $ Q $ 的水平拉力 $ F $ ,物体 $ P $ 都不会向右运动
由题意可知,物体 $ P $ 受到地面的最大静摩擦力为 $ {f}_{P \max }=\mu \cdot 2G=0.3×20\mathrm{N}=6\mathrm{N} $ , $ Q $ 受到 $ P $ 的最大静摩擦力为 $ {f}_{PQ \max }=\mu G=0.3×10\mathrm{N}=3\mathrm{N} $ ,因为 $ {f}_{PQ \max } < F < {f}_{P \max } $ ,所以物体 $ P $ 静止不动,物体 $ Q $ 向右运动, $ \mathrm{A} $ 错误, $ \mathrm{B} $ 正确;对物体 $ P $ 受力分析,受到 $ Q $ 对 $ P $ 水平向右的摩擦力 $ {f}_{QP}=\mu G=0.3×10\mathrm{N}=3\mathrm{N} $ ,因为物体 $ P $ 静止不动,由平衡条件可知,地面对物体 $ P $ 施加水平向左的静摩擦力,大小为 $ {f}_{P}={f}_{QP}=3\mathrm{N} $ , $ \mathrm{C} $ 错误;根据上述分析可知,当 $ F⩽ 3\mathrm{N} $ 时, $ P $ 、 $ Q $ 均静止,当 $ F > 3\mathrm{N} $ 时, $ Q $ 向右运动, $ P $ 相对地面静止不动,且无论如何增大对物体 $ Q $ 的水平拉力 $ F $ ,物体 $ P $ 都不会向右运动, $ \mathrm{D} $ 正确.
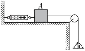
8.如图所示,放在水平桌面上的木块 $ A $ 处于静止状态,所挂的砝码和托盘的总质量为 $ 0.5\mathrm{k}\mathrm{g} $ ,弹簧测力计读数为 $ 2\mathrm{N} $ ,滑轮与绳间的摩擦不计, $ g $ 取 $ 10\mathrm{m}/{\mathrm{s}}^{2} $ .若轻轻取走盘中 $ 0.2\mathrm{k}\mathrm{g} $ 的砝码,将会出现的情况是( )
(多选)
A.弹簧测力计的读数将不变
B. $ A $ 将向左运动
C. $ A $ 对桌面的摩擦力变小
D. $ A $ 所受的摩擦力方向发生改变
开始时,木块 $ A $ 受水平向左的摩擦力,其大小为 $ {f}_{1}={m}_{1}g-T=3\mathrm{N} $ ,若轻轻取走盘中 $ 0.2\mathrm{k}\mathrm{g} $ 的砝码,假设木块 $ A $ 仍能保持静止,且所受摩擦力方向依然水平向左,则其大小为 $ {f}_{2}={m}_{2}g-T=1\mathrm{N} < {f}_{1} $ ,故假设成立,则弹簧测力计的读数将不变,桌面对 $ A $ 的摩擦力变小,所以 $ A $ 对桌面的摩擦力也变小, $ \mathrm{A} $ 、 $ \mathrm{C} $ 正确, $ \mathrm{B} $ 、 $ \mathrm{D} $ 错误.
9.如图甲所示为测量静摩擦力的实验装置,质量为 $ m=1.0\mathrm{k}\mathrm{g} $ 的木块放在水平桌面上.现用力沿水平方向拉木块,拉力 $ F $ 从0开始逐渐增大,木块先静止后运动.用力传感器采集拉力的大小 $ F $ ,并用计算机绘制出 $ F $ 随时间 $ t $ 变化的图像,如图乙所示.木块运动起来后,如果做匀速直线运动,拉力大小将保持为 $ 3.2\mathrm{N} $ .已知重力加速度大小 $ g=10\mathrm{m}/{\mathrm{s}}^{2} $ .

(1) 由图可知,木块与水平桌面间的最大静摩擦力为多大?
(2) 木块与桌面间的动摩擦因数 $ \mu $ 为多大?
(3) 现用 $ F\prime =10\mathrm{N} $ 的力来拉另外一个静止在水平桌面的木块,该木块的质量为 $ m\prime =5.0\mathrm{k}\mathrm{g} $ ,与桌面间的动摩擦因数依然为 $ \mu $ ,求该木块与桌面之间的摩擦力大小等于多少?
(1) $ 3.4\mathrm{N} $
(2) 0.32
(3) $ 10\mathrm{N} $
(1) 由题图乙可知,木块与水平桌面间的最大静摩擦力为 $ {f}_{\mathrm{m}}=3.4\mathrm{N} $ .
(2) 由题图乙可知,木块与水平桌面间的滑动摩擦力为 $ f=3.2\mathrm{N} $ ,根据滑动摩擦力公式有 $ f=\mu {F}_{\mathrm{N}}=\mu mg $ ,解得 $ \mu =0.32 $ .
(3) 另一个木块与桌面间的滑动摩擦力大小为 $ f\prime =\mu m\prime g=0.32×5.0×10\mathrm{N}=16\mathrm{N} $ ,当用 $ 10\mathrm{N} $ 的力来拉木块时,因为拉力小于滑动摩擦力,所以木块与桌面之间的摩擦力是静摩擦力,大小为 $ 10\mathrm{N} $ .
10.关于摩擦力,有人总结了“四条不一定”,其中说法错误的是( )
A.摩擦力的方向不一定与物体的运动方向相反
B.静摩擦力的方向不一定与运动方向共线
C.受静摩擦力或滑动摩擦力的物体不一定静止或运动
D.静摩擦力一定是阻力,滑动摩擦力不一定是阻力
摩擦力的方向不一定与物体的运动方向相反,也可能与物体的运动方向相同, $ \mathrm{A} $ 正确.静摩擦力的方向不一定与运动方向共线,也可能成一定角度,例如用手竖直握住瓶子,让瓶子水平移动, $ \mathrm{B} $ 正确.运动的物体和静止的物体都可能受到静摩擦力或滑动摩擦力的作用,例如货物在倾斜传送带上向高处匀速运动时,货物受静摩擦力但不静止;正在滑轨上滑行的物体,滑轨受到滑动摩擦力,而滑轨是静止的, $ \mathrm{C} $ 正确.静摩擦力和滑动摩擦力都既可以是阻力,也可以是动力, $ \mathrm{D} $ 错误.本题选说法错误的,故选 $ \mathrm{D} $ .
11.如图所示,有一重力不计的方形容器,被水平力 $ F $ 压在竖直的墙面上处于静止状态,现缓慢地向容器内注水,直到将容器刚好盛满为止,在此过程中容器始终保持静止,下列说法中正确的是( )
(多选)
A.容器受到的摩擦力不变
B.容器受到的摩擦力逐渐增大
C.水平力 $ F $ 可能不变
D.水平力 $ F $ 必须逐渐增大
容器始终保持静止,则在竖直方向上重力与静摩擦力平衡,缓慢地向容器内注水,重力逐渐增大,则静摩擦力也逐渐增大, $ \mathrm{A} $ 错误, $ \mathrm{B} $ 正确.容器注满水时,所受静摩擦力达到最大,设为 $ {f}_{1} $ ,而容器与墙面之间的最大静摩擦力 $ {f}_{ \max } $ 与正压力有关,即与 $ F $ 有关,设初始时水平力 $ F $ 对应的最大静摩擦力为 $ {f}_{ \max 1} $ ,当 $ {f}_{1} < {f}_{ \max 1} $ 时,若 $ F $ 逐渐增大,则 $ {f}_{ \max } $ 逐渐增大,始终大于 $ {f}_{1} $ ,容器能保持静止;若 $ F $ 不变, $ {f}_{1} < {f}_{ \max 1} $ ,容器能保持静止;若 $ F $ 减小,只要保证对应时刻的容器与墙面之间的最大静摩擦力 $ f{\prime }_{ \max } $ 大于容器的重力 $ G\prime $ ,就能使容器保持静止;当 $ {f}_{1} > {f}_{ \max 1} $ 时,初始时刻容器与墙面之间的摩擦力 $ f $ 一定小于 $ {f}_{ \max 1} $ ,否则容器不能保持静止,随着容器重力逐渐增加, $ f $ 逐渐增大到 $ {f}_{ \max 1} $ ,之后若要继续保持容器静止,则 $ F $ 必须增大,但不一定需要逐渐增大,故 $ \mathrm{C} $ 正确, $ \mathrm{D} $ 错误.
1.如图所示,台阶处放置一根长直木棍,现用手指向下用力按压木棍,手指和木棍均未移动,下列说法正确的是( )

A.手指对木棍的压力方向竖直向下
B.台阶 $ A $ 处对木棍的支持力方向竖直向上
C.手指对木棍的摩擦力方向平行于木棍
D.地面对木棍的支持力方向斜向左上方
点与面接触的弹力方向,过接触点垂直于接触面(或接触面的切线),指向受力物体,则手指对木棍的压力方向垂直于木棍向下,故 $ \mathrm{A} $ 错误;台阶 $ A $ 处对木棍的支持力属于弹力,其方向为过 $ A $ 处垂直木棍向上,故 $ \mathrm{B} $ 错误;木棍相对于手指有斜向左上方的运动趋势,则手指对木棍的摩擦力方向平行于木棍斜向右下,故 $ \mathrm{C} $ 正确;地面对木棍的支持力方向垂直于地面向上,故 $ \mathrm{D} $ 错误.
2.如图所示,三块质量均为 $ m $ 的长木板1、2、3叠放在水平地面上,木板之间、木板与地面之间的动摩擦因数均为 $ \mu $ .现对木板1施加水平向右的拉力,使其缓慢向右运动,2、3均静止不动.重力加速度为 $ g $ ,下列说法正确的是( )

A.木板2对木板1的摩擦力小于 $ \mu mg $ ,方向水平向左
B.木板1对木板2的摩擦力等于 $ \mu mg $ ,方向水平向左
C.木板3对木板2的摩擦力等于 $ 2\mu mg $ ,方向水平向左
D.地面对木板3的摩擦力等于 $ \mu mg $ ,方向水平向左
木板1、2之间的摩擦力为滑动摩擦力,与接触面积无关,大小等于 $ \mu mg $ ,与相对运动方向相反,故木板1对木板2的摩擦力水平向右,木板2对木板1的摩擦力水平向左, $ \mathrm{A} $ 、 $ \mathrm{B} $ 错误;木板2静止不动,水平方向上受力平衡,故木板3对木板2的摩擦力等于 $ \mu mg $ ,方向水平向左, $ \mathrm{C} $ 错误;同理,木板3在水平方向上受力平衡,地面对木板3的摩擦力等于 $ \mu mg $ ,方向水平向左, $ \mathrm{D} $ 正确.
3.如图所示,磁铁 $ B $ 吸附于铁箱 $ A $ 的侧壁, $ A $ 的侧壁位于竖直平面内, $ A $ 、 $ B $ 始终保持相对静止,则下列说法正确的是( )

A.铁箱静止于地面上时,磁铁 $ B $ 一共受到3个力的作用
B. $ A $ 、 $ B $ 一起匀速上升时, $ B $ 受到的摩擦力方向向上
C. $ A $ 、 $ B $ 一起匀速向左运动时, $ B $ 受到的摩擦力与静止时相比减小
D.若在图示状态下仅增大 $ B $ 的磁性,则 $ B $ 受到的摩擦力一定会变大
对 $ B $ 受力分析, $ B $ 受重力、铁箱的吸引力、 $ A $ 对 $ B $ 的支持力、 $ A $ 对 $ B $ 的摩擦力共4个力,故 $ \mathrm{A} $ 错误; $ A $ 、 $ B $ 一起匀速上升时, $ B $ 处于平衡状态,由平衡条件可知 $ B $ 受到的摩擦力方向向上,故 $ \mathrm{B} $ 正确; $ A $ 、 $ B $ 一起匀速向左运动时, $ B $ 处于平衡状态,根据平衡条件可知 $ B $ 受到的摩擦力大小等于 $ B $ 的重力,与静止时的摩擦力相等,故 $ \mathrm{C} $ 错误;在题图所示状态下, $ B $ 处于静止状态, $ A $ 、 $ B $ 之间的摩擦力为静摩擦力,根据平衡条件可知 $ B $ 受到的摩擦力大小等于 $ B $ 的重力,仅增大 $ B $ 的磁性, $ B $ 的重力不变,则 $ B $ 受到的摩擦力大小不变,故 $ \mathrm{D} $ 错误.
4.如图,在水平桌面上放置一斜面体 $ P $ ,两长方体物块 $ a $ 和 $ b $ 叠放在 $ P $ 的斜面上,整个系统处于静止状态.若将 $ a $ 与 $ b $ 、 $ b $ 与 $ P $ 、 $ P $ 与桌面之间摩擦力的大小分别用 $ {f}_{1} $ 、 $ {f}_{2} $ 和 $ {f}_{3} $ 表示.则( )

A. $ {f}_{1}=0 $ , $ {f}_{2}\ne 0 $ , $ {f}_{3}\ne 0 $
B. $ {f}_{1}\ne 0 $ , $ {f}_{2}\ne 0 $ , $ {f}_{3}=0 $
C. $ {f}_{1}\ne 0 $ , $ {f}_{2}=0 $ , $ {f}_{3}=0 $
D. $ {f}_{1}\ne 0 $ , $ {f}_{2}\ne 0 $ , $ {f}_{3}\ne 0 $
对物块 $ a $ 受力分析可知,物块 $ a $ 受重力、支持力的作用,有沿斜面向下滑动的趋势,因此 $ a $ 受到 $ b $ 沿斜面向上的摩擦力, $ {f}_{1}\ne 0 $ ;再对 $ a $ 、 $ b $ 整体受力分析可知, $ a $ 、 $ b $ 整体受重力、支持力的作用,有沿斜面向下滑动的趋势,因此 $ b $ 受到 $ P $ 沿斜面向上的摩擦力, $ {f}_{2}\ne 0 $ ;对 $ a $ 、 $ b $ 及 $ P $ 组成的整体受力分析,由于整体在水平方向不受外力,因此 $ P $ 不受桌面的摩擦力, $ {f}_{3}=0 $ ,故 $ \mathrm{B} $ 正确, $ \mathrm{A} $ 、 $ \mathrm{C} $ 、 $ \mathrm{D} $ 错误.
5.如图所示,重物 $ A $ 的质量为 $ 5\mathrm{k}\mathrm{g} $ , $ A $ 与桌面间的最大静摩擦力为 $ 10\mathrm{N} $ ,重物 $ A $ 与物体 $ B $ 通过跨过定滑轮的轻绳相连,不计定滑轮与轻绳之间的摩擦.拉力 $ F=30\mathrm{N} $ 时,系统处于静止状态.求物体 $ B $ 的质量 $ M $ 的取值范围 $ {\rm .} (g=10\mathrm{m}/{\mathrm{s}}^{2}) $

$ 2\mathrm{k}\mathrm{g}⩽ M⩽ 4\mathrm{k}\mathrm{g} $
当物体 $ B $ 质量较大时,重物 $ A $ 有向右运动的趋势,则静摩擦力向左,当静摩擦力最大时,物体 $ B $ 的质量最大,
有 $ {M}_{ \max }g=F+{f}_{ \max } $ ,
解得 $ {M}_{ \max }=4\mathrm{k}\mathrm{g} $ ;
当物体 $ B $ 质量较小时,重物 $ A $ 有向左运动的趋势,则静摩擦力向右,当静摩擦力最大时,物体 $ B $ 的质量最小,
有 $ {M}_{ \min }g=F-{f}_{ \max } $ ,
解得 $ {M}_{ \min }=2\mathrm{k}\mathrm{g} $ ,
综上可知物体 $ B $ 的质量 $ M $ 的取值范围为 $ 2\mathrm{k}\mathrm{g}⩽ M⩽ 4\mathrm{k}\mathrm{g} $ .
6.如图所示,水平桌面上放着一叠作业本,共30本.每本作业本的质量都是 $ m $ ,作业本间的动摩擦因数为 $ {\mu }_{1} $ ,作业本与桌面间的动摩擦因数为 $ {\mu }_{2} $ ,且 $ {\mu }_{1} < {\mu }_{2} $ .现用手对第10本(从上往下数)作业本施加一水平力,将第10本作业本快速水平抽出,设最大静摩擦力等于滑动摩擦力,重力加速度大小为 $ g $ ,则在抽出作业本的过程中,下列说法正确的是( )

A.作业本对桌面可能没有摩擦力
B.作业本对桌面的摩擦力大小为 $ 30{\mu }_{2}mg $
C.第11本作业本受到第10本作业本的摩擦力大小为 $ {\mu }_{1}mg $
D.水平拉力一定大于 $ 19{\mu }_{1}mg $
第10本作业本(从上往下数)与第11本作业本之间的摩擦力大小为 $ {f}_{1}=10{\mu }_{1}mg $ ,将下面20本作业本看成一个整体,因为 $ {f}_{1} < {\mu }_{2}\cdot 30mg $ ,所以下面20本作业本相对桌面静止,对其受力分析,根据二力平衡可知,桌面对其静摩擦力的大小等于 $ {f}_{1}=10{\mu }_{1}mg $ ,根据相互作用力可知, 作业本对桌面的摩擦力大小也为 $ 10{\mu }_{1}mg $ ,故 $ \mathrm{A} $ 、 $ \mathrm{B} $ 、 $ \mathrm{C} $ 错误;第10本作业本与第9本作业本之间摩擦力大小为 $ {f}_{2}={\mu }_{1}\cdot 9mg=9{\mu }_{1}mg $ ,若要把第10本作业本抽出,水平拉力 $ F > {f}_{1}+{f}_{2}=19{\mu }_{1}mg $ ,故 $ \mathrm{D} $ 正确.